设为首页
加入收藏
仪器
200V直流高压电源;电流表(0-15mA);电压表(0-200V);4000Ω、额定电流为0.3A的分压器;插塞开关;氖灯。
使用一个可调变压器作高压电源,可以代替直流高压电源和分压器。
实验步骤

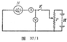
按图37/1所示安装电路。其中N是氖灯,H是直流高压电源,P是分压器,A是电流表,V是电压表,K是插塞开关。
合上K,起初电压表的读数约为120V,逐次增加氖灯两端的电压,直到点燃,即看到红色的辉光。记下电离电流I及电压表读数V1。V1即氖灯的点燃电压。
增加氖灯两端的电压,直到可能的最大值,记录V和A的一系列相应的读数。不切断高压电源,但稳定地降低电压、直到氖灯熄灭。记录这个过程中V和A的一系列相应的读数。氖灯熄灭时的电压就是熄灭电压V2。
数据记录与处理
把观测数据填入下表:
|
高压电源电压(V) |
|
| ||||||||||
|
|
|
|
|
|
|
|
|
|
|
|
| |
|
电离电流(mA) |
|
|
|
|
|
|
|
|
|
|
|
|
作出电离电流(作为纵坐标)对所加电压的图象。
|