通达教学资源网首页
站点导航
语文
数学
英语
物理
化学
生物
历史
地理
政治
信息技术
艺体
综合
设为首页
加入收藏
用户名:
密码:
保存时间:
不保存
保存一天
保存一周
保存一月
保存一年
物理首页
┊
备课参考
┊
教学设计
┊
教学参考
┊
科普知识
┊
物理实验
┊
竞赛辅导
┊
学习生活
┊
资源下载
┊
网站留言
http://www.nyq.cn
当前位置:
->
物理实验
->
课外实验
->
现代中学物理实验
->
第四篇 电子学、放射学
->
正文
研究P-N-P点接触型三极管发射极-集电极穿透电流实验原理
作者:未知
来源:《高中物理学生实验》
时间:2006-5-2 15:55:55
阅读:
字号:
小
|
大
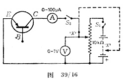
从图
39
/
16
中看到,电流从发射极流到集电极要经过基极。通过发射极-基极的电流将引起一个放大了的电流流过集电极-基极回路。测定的反向电流,将由于晶体管的这种“放大”作用而增加。
相关文章:
·
用灵敏电高辐射计量仪测定220Rn的半衰期实验原理
2006-5-2
·
伏特计
2006-5-2
·
半导体元件对温度的变化很敏感
2006-5-2
·
制作操作放射源的工具
2006-5-2
·
研究放射源的影响
2006-5-2
·
闪烁计数器
2006-5-2
·
P-N-P和N-P-N型晶体管
2006-5-2
·
阴极射线管
2006-5-2
·
模拟实验
2006-5-2
·
电离的机制
2006-5-2
上一篇:
研究P-N-P点接触型三极管发射...
下一篇:
研究不同厚度的金属板对镭226辐...
网站推荐
热门文章
历史
本月
本周
今日
其它信息
关于本站
|
免责声明
|
业务合作
|
广告联系
|
留言建议
|
联系方式
|
网站导航
|
管理登录
通达教学资源网
版权所有
维护:
NYQ
闽ICP备05030710号