设为首页
加入收藏
仪器
J1201型低压电源;10kΩ 分压器;0-1V、刻度为0.01V的高内阻电压表;两只单刀单掷开关;教学示波器(J2458型);0-100μA微安表和一只0-10V
实验步骤

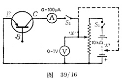
按图39/16安装电路,基极不连接。闭合S1后调节分压器,使伏特计的读数像实验103那样。闭合S2,注意微安表电流读数大于2-5μA,以0.01V的间隔细心地把所加电压增加到0.1V,记下对应的电流值。
换0-10V伏特计,把电压依次调到1.5V、3.0V等,观测相应的电流值,连续取得一系列数据,直到所加的电压达到9V为止。
若条件允许,用一只其它型号的三极管重复本实验。
数据记录与处理

将观测值列表,并画集电极电流IC对集电极电压VC的图象,它将类似图39/17。
|