设为首页
加入收藏
阴极射线管能提供聚集在荧光屏上的一束电子以便形成直径略小于1mm的光点。在电子束附近加上磁场或电场,电子束将会偏转,能显示出由电势差产生的静电场,或由电流产生的磁场。
实验室通常使用静电偏转式示波管,它的旁热式阴极需要1A的电流、4或6.3V的电压。阴极被离得较远的顶部开孔的圆柱形金属筒罩着,圆筒相对于阴极加上负电势,电子受到它的排斥、形成通过小孔的电子束。这个圆筒电极称为栅板或屏蔽栅,改变栅极电位能控制阴极发射电子,于是就改变了光点的辉度。相应的控制旋钮标记为“辉 度”。
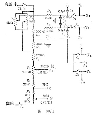
从控制栅出来的电子束穿过第一、二、三阳极,这三个阳极对于阴极都处于正电位。这些电极之间的电场,随所加的电势不同,可以使电子束汇聚或发散。它们的作用类似光学中的透镜组。通常使第一、三阳极相对于阴极处于最高电位,第二阳极则处于较前两个低些的电位,但比阴极电位高。第二阳极的电位可以改变。用这样的方法,能将光点聚焦在屏上。控制第二阳极电势的分压器起着“聚焦”作用,见图38/1。屏面涂着一层硅化锌,当电子轰击屏时,它会发出绿光。

在最后一个阳极和屏之间安装了偏转板,X偏转板比Y偏转板离屏更近,X偏转板造成水平偏转,Y偏转板造成垂直偏转。在Y方向上有较高的灵敏度(单位为mm/V)。
因为电子束由电子组成,所以,加在X偏转板之间的电势差会引起电子束随X板的极性由左向右、或由右向左移动。光点向着具有较高正电位的电极板移动。加在Y偏转板上的电势差也以同样的方式引起电子束向上或向下移动。
关于电极电压有一点要特别注意:通常最后的阳极要接地以使偏转板不会处于高压附近,错误的方法会引起光点漂移,甚至在某些情况中导致危险。示波管阴极末端处在相对于地几千伏的负电势上,它取决于示波管的零点。因此,当示波管工作时,阴极、阴极加热装置,加热装置的电流变压器线圈,以及聚焦阳极(A2)对于操作者而言是危险的。所以这些部件的相应旋钮中间都必须绝缘,始终保持与高压电源隔离。
|