设为首页
加入收藏
仪器
冰块;惠斯登电桥;干电池;旋塞开关;带灵敏度控制装置的检流计;水槽;水或沸点更高的液体(如甘油或机油);温度计;无感线圈(其电阻待研究)。
无感线圈由两股导线绞合后绕在绝缘架上制成,铜引线焊在两个端点上,它和温度计一起放进装有沸腾的液体的试管里,最好能用足够长的白金丝或镍丝作导线,否则使用铜线。当研究0-1000℃温度范围的情况时,可用36#双纱包铜线绕制成约10Ω的电阻,在惠斯登电桥上测量它的阻值比。选用一个与它的阻值接近的标准电阻作比较臂电阻。
实验步骤

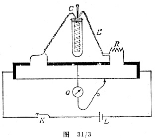
按图31/3安装电路,其中L是电池,K是旋塞开关,R是标准电阻,G为检流计,C为待研究的电阻,L′是补偿引线(见下面)。
用花线把C接入电路,并取一对与C的引线长度相等的花线作为补偿引线L′,由于温度变化而引起的C的引线的电阻的变化恰被L′的相等变化所补偿,L′的两头连在一起,如图所示,L′的一端要接近C,但不要接到C上。
将C置于正在熔解的冰内,并用惠斯登电桥测其电阻。
下一步是将C置于盛有液体的试管内,在不同的温度下测取电阻的一系列值,尽可能地覆盖较宽的温度范围。
数据记录与处理
把结果填入下面的表中。
|
θ(℃) |
R(Ω) |
Lθ(cm) |
100-Lθ(cm) |
Rθ=Lθ/100-Lθ SUB>R |
|
|
|
|
|
|
作出Rθ-θ图象,并由它求出α的值。
如果在冰熔化的过程中取得读数,那么测α的更精确的方法可用下式:
α=(R100-R10)/100R0
如果用这个方法,仍需作出其图象。
|