设为首页
加入收藏
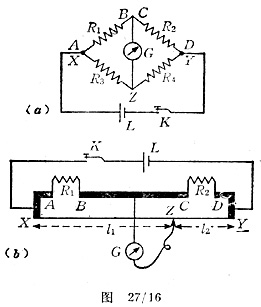
在图27/16(a)所示线路中,按下K,调整R1,R< SPAN lang=EN-US style="mso-bidi-font-size: 10.5pt">2,R3和R4使检流计无偏转,从基尔霍夫定律可以得到R1/R2=R3/R4,当已知其中的三个电阻时,就能确定第四个电阻。

这就是“惠斯登网络原理”,它在电测量中应用极广,例如惠斯登电桥,见图27/16(b)。其中XY是一段均匀导线(即dR/dL不变),A、B、C和D为如图所示的用裸铜片连接的电接头,R1和R2分别接在AB和CD之间,BC的中点通过检流计接至滑动触头Z。比较27/16(a)和(b)可以证明:导线XZ相当于R3,ZY相当于R 4,当Z被置于使G无偏转的位置时,有
R1/R2=XZ的电阻/ZY的电阻
对于均匀导线,上式右边为它们的长度之比,故有
R1/R2=L1/L2
这样,若已知R1和R2中的一个,就能确定另一个。通常选一只标准电阻作R2,按照
R1=R2(L1/L2)
就可以确定R1。
|