设为首页
加入收藏
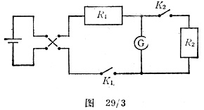
所用电路如图29/3所示。R1是高电阻,它有减小通过检流计的电流,保护检流计的作用。如果检流计满刻度偏转电流约为0.5mA,则仪器部分给出的电阻箱阻值是适宜的;如果检流计的灵敏度更高,则R1的值要更大些,把电位器接入R1的线路中可以做到这点,因为R1的阻值是否精确并不重要。先计算R1的数量级,目的是保护检流计。检流计满刻度偏转电流通常刻在面板上,一般与说明书很接近。

该电路的原理是:断开K2在G上获得一个偏转,然后合上K2,调节R2使G< /SPAN>的偏转下降为前者的一半,这时R2的阻值即等于检流计的内阻。只要R1>>R2,就可以认为无论断开或合上K2,电路中的总电流都是相同的。
|