设为首页
加入收藏
仪器
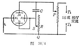
示波器与电源装置,用调压器把50HZ交流电源调到50-80V;3μF的电容;一只1200Ω 20W的分压器;一只1200Ω 20W的分压器;一只1200Ω 20W的变阻器;惠斯登电桥和附件;由方形胶片做成的带方格的透明屏,它的方格就像坐标纸上的那样,线间距离为2mm。
实验步骤
接通电源和示波器,并进行调整,使得一个清晰的聚焦光点出现在荧光屏中央。

按图38/4安装电路,其中P是分压器,R是带滑动触头S的变阻器,X1 SPAN>、X2、Y1和Y2是偏转板,T1和T2是50-80V交流电源接线柱。
把交流电源接在分压器上,调节分压器,使荧光屏上迹线的幅度约为示波管直径的2/3。改变R的阻值,并注意迹线形状的变化,仔细调整R,直到迹线成一个圆。这可以用带方格的透明屏作背景来检查:数一数每一条直径的方格数。
不改变变阻器上滑动触头的位置,把变阻器从电路上拆一下来,并测量滑动触头S和Q端之间的电阻阻值。
数据记录与处理
记录结果如下:
电容器的电容C=
电阻器的阻值R=(=XC)
代入上述公式计算交流电源频率f的值。
|