设为首页
加入收藏
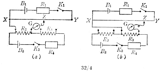
当一个稳定的电流通过两个串联电阻时,每个电阻上的电压降与电阻成正比。

本实验中在蓄电池上串联两个电阻器R2和R3(见图32/4,或许还要串联一个电阻器R4限流)。用电势差计测量R2、R3上的电压,当检流计G指零时,电势差计的电阻线中XZ段长度上的电压分别与跨接在X和Z两端的电阻(R2或R3)的电压相等。R2或R3 SUB>的阻值分别与XZ段的长度成正比。
电势差计具有最大的灵敏度时,电阻丝(XY)两端的电压应该比两个作比较的电阻中较大的那个两端的电压稍微大些。
图32/4中的。R2和R3是待比较的电阻,如果它们的阻值大于10Ω,就不必用R4来限流。在这种情况,R2和R3的电压均约为1V,为了让平衡点靠近电势差计电阻流的末端(Y端),XY的阻值应比R1稍大些(为什么?)
作比较的电阻通常都很小,如果把它们跨接到蓄电池两端,有的元件可能会损坏;即使不发生这种情况,由于通过的电流太大,R2和R3的温度会升高,从而使它们的电阻变大。这时R1就是必不可少的,它的值应能把电流限制在0
为了设计好电路,需要弄清楚:
(i)R4的值应在几欧姆内;
(ii)R2和R3阻值的误差均应小于5%;
(iii)电势差计电阻线的电阻是多少。
对于线路B2-R4-R3-R2应用欧姆定律。设B2的电动势为2V,设算出R2和R3中较大的电阻上的电压为V,对电 势差计的线路作类似的考虑后推导出要求的R1之值,使XY之间的电压稍大于V。
接好电路后,可稍改变R1来达到平衡点(即使检流计指零)。R1可以是变阻器或电阻箱。
|