设为首页
加入收藏
仪器
待校准的安培计(假定它的量程为0-2A);电势差计;2V蓄电池三只;插塞开关两只;双向开关一只;滑动触头;干电池;标准电池;载流2A的变阻器,如果没有变阻器与标准电池的电路相连接,可以用10KΩ的固定电阻代替;1.00Ω标准电阻一只;检流计。
原理
本实验实质上是用电势差计测定电流。用电势差计测定一个已知电阻上的电压,由于本实验选定的已知电阻为1.00Ω,所以其上的电压(单位为V)数值上等于电流(单位为A)。
实验步骤

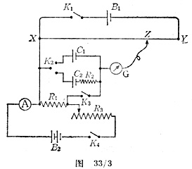
按图33/3安装电路,其中B1为2V蓄电池,K1为插塞开关,XY是电势差计电阻线,K2是双向开关,C1是干电池,C2是标准电池,R2是固定的高值电阻(它接入C2的电路中),G是检流计,Z是滑动触头,A是安培计,R1是1.00Ω标准电阻,R3是2Ω的可变电阻器,K3和K4均为插塞开关,B2是4V蓄电池组。
第一部分校准电势差计
在这部分中,K3和K4始终是断开的,因为仅在校准安培计时才用到它们。合上K2将干电池接入电路;合上K1,并找出Z在XY上的平衡点;断开K2后用标准电池代替干电池。找出新的平衡点,记录平衡点离开X端的距离。
第二部分校准安培计
做这部分实验时,断开K2使C1和C2都不接入电路中。使R3在最大值位置,合上K4后合上K3,并找出在XY上的平衡点,记录这个平衡点的位置和相应的安培计的读数;减少R3,使安培计的读数增加0.25A,找出相应的新平衡点并记录平衡点离开X端的距离;逐步减小R3取得一系列相对应的电流读数和平衡点的位置,直到电流表获得满刻度偏转为止。
|