设为首页
加入收藏
仪器

卡瑞-福斯特电桥除了有图30/5所示A、B、C和D四个“间隙”(而不是两个)外,完全类似惠斯登电桥。此外,还要一只1Ω的标准电阻;两只阻值约2Ω的标准电阻;勒克朗谢电池;旋塞开关;滑动触头(如图27/14所示);带灵敏度控制装置的检流计;精确阻值未知的电阻和与之几乎相等的标准电阻;短路簧片。
实验步骤

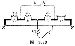
按图30/6安装电路,其中R3和R4是阻值相等的标准线绕电阻,K是旋塞开关,L是电池,G是检流计(未画出灵敏度控制装置)。
短路片如图30/6所示,用短而粗的导线制成。按这个线路测定单位长度的导线的电阻值,(单位为Ω/m),其步骤如下:
找出平衡点,设它离开X端为xm;
交换短路片和1.00Ω电阻的位置,但不要交换它们的引线,因为引线的电阻可能不相等。找出新的平衡点,设它离开X端为x′m。
然后,把短路片从间隙A移开,接入未知电阻R1,同时用标准电阻R2取代D中的1.00Ω电阻。为了保证电桥的测量精度,要求R2近似地等于R1,如果电桥的滑线长1m,则平衡点离滑线中心以不超过0.2m为宜。测量线路如图30/5。
测量平衡点离X端的距离x1。
交换R1和R2(不要移动引线),找出新的平衡点离X端的距离x2。
数据记录与处理
记录所有的观测数据。
计算每米电阻线的电阻值,把它和有关的值代入(3)式求出未知电阻R1。
|