http://www.nyq.cn
 当前位置: -> 物理实验 -> 课外实验 -> 现代中学物理实验 -> 第二篇 热学和分子物理、光学 -> 正文

通过测量毛细管内液面的升高来测定液体的表面张力系数实验原理

作者:未知来源:《高中物理学生实验》时间:2006-5-2 15:53:41阅读:
字号:|

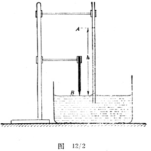
  在图122中,假设r为毛细管的半径,单位用mh是液体从自由面沿毛细管上升的高度,单位用m。该量应算至弯月面的底部。那么,当接触角为零时(即液体完全浸润玻璃时),就有

  其中γ为表面张力系数,单位用Nm

  D是液体的密度,单位用kgm3

  g是重力加速度,单位用ms2

  在公式中加上r3是修正弯月面底部以上液体的体积,当

  r<<h时,公式近似为

关于本站 | 免责声明 | 业务合作 | 广告联系 | 留言建议 | 联系方式 | 网站导航 | 管理登录
闽ICP备05030710号