设为首页
加入收藏
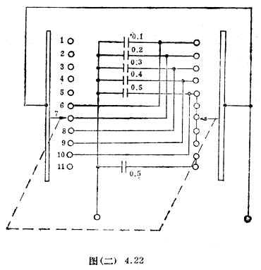
根据所给器材可知,从0.1-0.5μF各有一个电容,可直接用波段开关的一刀引出,但从0.6-1.0μF就必须采用并联电容的方法进行适当组合。怎样利用波段开关实现这种并联呢?只要通过波段开关的另一把刀使相应的电容并联就可以了。

电容箱的电路如图(二)4.22所示。分析电路可以看出,当刀打在“6”上时,0.1μF与0.5μF并联起来输出,当刀打在“10”上时,两只0.5μF的电容并联输出,等等。
选自:《高中物理课外实验》
|