设为首页
加入收藏
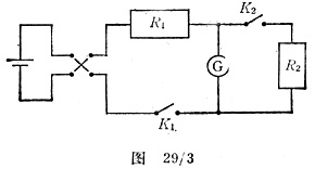
仪器
检流计;两只电阻箱,其中一只阻值为10000×1Ω,另一只约为50Ω(它应远小于检流计的内阻),其最小步进值为1Ω(最好为0.1Ω);蓄电池;插塞开关;换向开关。
实验步骤

按图29/3安装电路。开始时R1在最大值位置,合上K1,观察检流计的读数,如果它比估计的小、未达到满刻度的三分之一,就调节R1使之为满刻度的三分之一,记录R1和检流计的读数;合上K2并调节R2使检流计的读数减半。改变电流方向后重复上述步骤。断开K2,调节R1增加检流计的偏转,重复上述操作,继续这个过程直到检流计达到满刻度偏转。共取得四组读数(每组都有一次正向电流和一次反向电流),以便按R2的八个值求平均值后得到检流计的内阻阻值。
|