通达教学资源网首页
站点导航
语文
数学
英语
物理
化学
生物
历史
地理
政治
信息技术
艺体
综合
设为首页
加入收藏
用户名:
密码:
保存时间:
不保存
保存一天
保存一周
保存一月
保存一年
物理首页
┊
备课参考
┊
教学设计
┊
教学参考
┊
科普知识
┊
物理实验
┊
竞赛辅导
┊
学习生活
┊
资源下载
┊
网站留言
http://www.nyq.cn
当前位置:
->
物理实验
->
课外实验
->
高中物理课外实验
->
第三编 研究与探索(提示与答案)
->
正文
感应圈的结构
作者:未知
来源:《高中物理学生实验》
时间:2006-5-2 15:49:47
阅读:
字号:
小
|
大
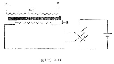
感应圈的内部结构如图(二)
3
.
41
所示。
选自:《高中物理课外实验》
相关文章:
·
研究冷却规律
2006-5-2
·
设计用滑动变阻器调节灯光的特殊电路
2006-5-2
·
奇异的浸水鸟
2006-5-2
·
研究电容器的贮电能量
2006-5-2
·
巧测电容量
2006-5-2
·
三端电学黑箱方法一
2006-5-2
·
把微安表改装为双量程直流电流表
2006-5-2
·
查线
2006-5-2
·
浮力永动机
2006-5-2
·
你在哪一个星球上
2006-5-2
上一篇:
小试管为什么会往上升
下一篇:
手触验电器
网站推荐
热门文章
历史
本月
本周
今日
其它信息
关于本站
|
免责声明
|
业务合作
|
广告联系
|
留言建议
|
联系方式
|
网站导航
|
管理登录
通达教学资源网
版权所有
维护:
NYQ
闽ICP备05030710号