http://www.nyq.cn
 当前位置: -> 物理实验 -> 课堂实验 -> 高中物理学生实验 -> 力学部分 -> 正文

视差观测器及视差的概念

作者:未知来源:《高中物理学生实验》时间:2006-5-2 11:27:14阅读:
字号:|

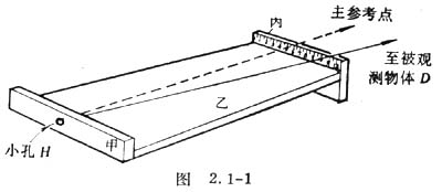
  视差观测器是利用视差法测量大距离的一种仪器,它是由三块木块组成,如图211。小孔H开在甲板中央,直径约为15毫米,乙板位于水平面时,小孔H恰好与丙板上沿相齐。丙板内侧有标尺。

  被观测的物体与其背景之间的相对位置随观察者的位置变化,所发生的表观移动叫视差。比如先用一只眼睛注视50厘米远处的一支铅笔,然后用另一只眼睛观看这支铅笔,铅笔在背景上的位置将发生变化。

关于本站 | 免责声明 | 业务合作 | 广告联系 | 留言建议 | 联系方式 | 网站导航 | 管理登录
闽ICP备05030710号